PA网址

 

液压螺母工作原理

液压螺母是一种先进的螺栓装配方法,特别适用于狭窄空间和重负荷震动机械紧固,液压螺母的工作原理是利用液压油缸直接对螺栓施加外力,使被施加力的螺栓在其弹性变形区内被轴向拉长,螺栓拉长后旋紧液压螺母上的锁圈,利用材料自身的弹性将螺纹锁紧。

普通螺纹的锁紧是靠转动扳手产生扭矩利用螺纹间的摩擦力来锁紧。对于大直径螺纹连接,受人力,工具和作业空间等影响,其预紧力根本达不到设计要求,因此在振动场合很容易松动。液压螺母具有极高的预紧能力和独有的可以多组螺栓同步紧固实现相同预紧力的显著特点,从而逐步应用于经常拆装或轴向顶紧各种场合的螺栓连接、预紧及防松要求,并可作为液压过盈配合联结拆装工具。

PA网址 液压螺母的结构根据不同的使用分厚型和薄型、高压和超高压、顶环锁紧和底环锁紧。液压螺母主要由油缸、活塞和锁圈组成,接油口有顶置和侧入设计。

PA网址 公司依靠三十多年从事大型螺栓工程的经验,为多家著名企业设计制造各种规格的液压螺母,获得极高的评价。如果标准型号的液压螺母不能满足使用要求,PA网址 提供特殊的专业定做服务,为了准确反映螺栓的工况,敬请填写我们提供的螺栓数据调查表。

  • 液压螺母工作原理图
  • 一拖十液压螺母

液压螺母特点:

  • 拉伸方式不受螺栓润滑效果和螺纹摩擦大小的影响,可以得到更为精确的螺栓载荷;
  • 可对多个螺栓进行同步拉伸,使整圈螺栓受力均匀,得到均衡的载荷;
  • 由于采用成熟的超高压技术,可以在很小的空间内完成螺栓的锁紧;
  • 拉伸方式对螺栓进行紧固得到的剩余载荷和有效载荷要比力矩方式更大;
  • 拉伸方式更适用于紧固精度要求较高的接合应用,它能使连接面受力均匀地实现接合,真正地防止泄漏。

液压螺母应用场合:

  • 油田:油田防喷器,采油树;
  • 矿山:采煤机,掘进机,斗轮机,超重型车辆;
  • 电厂:高压给水泵,压缩机,岩石磨,汽轮机,靠背轮;
  • 石化:反应釜,高压给水泵,压缩机,岩石磨,烟汽轮机;
  • 船舶:柴油机,主轴系,靠背轮;
  • 钢铁:轧机,水压机,钢坯剪,靠背轮。

FY-LMA型液压螺母

  • FY-LMA型液压螺母

主要参数

最大拉伸力
3864KN
最大行程
20mm
螺栓直径
M27~125mm

FY-LMA型液压螺母特点:

  • 适用于各种震动、快速转动、大力量设备和狭窄空间;
  • 经济高效、重量轻、精度高;
  • 可配手动泵、气动液压泵和电动液压泵;
  • 多个液压螺母可同时使用;
  • 标准工作压力150Mpa。

FY-LMA型液压螺母技术参数:

LMA型液压螺母示意图
型号 螺纹规格 最大拉伸力 油压面积 外径 螺母厚度 行程
厚型 薄型
厚型液压螺母 薄型液压螺母 M in KN mm2 mm mm mm mm
FY-LMA1027 FY-LMA2027 27 1-1/8 226 1571 75 66 53 6
FY-LMA1030 FY-LMA2030 30 1-1/8 226 1571 75 66 53 6
FY-LMA1033 FY-LMA2033 33 1-1/4 268 1571 83 66 53 6
FY-LMA1036 FY-LMA2036 36 1-3/8 333 2534 90 66 53 8
FY-LMA1039 FY-LMA2039 39 1-1/2 373 2534 95 66 53 8
FY-LMA1042 FY-LMA2042 42 1-5/8 428 3195 101 74 58 8
FY-LMA1045 FY-LMA2045 45 1-3/4 447 3195 105 74 58 8
FY-LMA1048 FY-LMA2048 48 1-7/8 521 3195 113 74 58 8
FY-LMA1052 FY-LMA2052 52 2 624 3195 122 74 58 10
FY-LMA1056 FY-LMA2056 56 2-1/4 787 4006 136 78 63 10
FY-LMA1064 FY-LMA2064 64 2-1/2 931 4477 150 84 69 10
FY-LMA1068 FY-LMA2068 68 2-3/4 1046 5635 160 84 69 10
FY-LMA1072 FY-LMA2072 72 2-1/2 1256 7540 170 92 80 15
FY-LMA1080 FY-LMA2080 80 3-1/4 1667 7540 192 112 97 15
FY-LMA1090 FY-LMA2090 90 3-1/2 2022 10603 210 112 97 15
FY-LMA1095 FY-LMA2095 95 3-3/4 2177 10603 220 122 102 15
FY-LMA1100 FY-LMA2100 100 4 2488 15080 235 137 117 20
FY-LMA1110 FY-LMA2110 110 4-3/8 2864 16022 255 137 117 20
FY-LMA1125 FY-LMA2125 125 5 3864 16965 290 143 128 20

FY-LMA型液压螺母应用场合:

LMA型液压螺母现场应用 FY-LMA型液压螺母现场应用

FY-LMB型液压螺母

  • FY-LMB型液压螺母

主要参数

最大拉伸力
14103KN
最大行程
20mm
螺纹规格
M22~200mm

FY-LMB型液压螺母特点:

  • 适用于各种震动、快速转动、大力量设备和狭窄空间;
  • 经济高效、重量轻、精度高;
  • 可配手动泵、气动液压泵、电动液压泵;
  • 多个液压螺母可同时使用;
  • 标准工作压力220Mpa;

FY-LMB型液压螺母技术参数:

型号 纹螺规格 最大拉伸力 油压面积 外径 螺母厚度 行程
厚型 薄型
顶环厚型液压螺母 顶环薄型液压螺母 底环厚型液压螺母 底环薄型液压螺母 M Inch KN mm2 mm mm mm mm
FY-LMB1022 FY-LMB2022 FY-LMB3022 FY-LMB4022 22 7/8 282 1280 57 57 45 4
FY-LMB1024 FY-LMB2024 FY-LMB3024 FY-LMB4024 24 1 282 1280 59 59 45 4
FY-LMB1027 FY-LMB2027 FY-LMB3027 FY-LMB4027 27 1-1/8 317 1441 63 63 48 4
FY-LMB1030 FY-LMB2030 FY-LMB3030 FY-LMB4030 30 1-1/8 317 1441 70 70 50 4
FY-LMB1033 FY-LMB2033 FY-LMB3033 FY-LMB4033 33 1-1/4 317 1441 74 74 50 4
FY-LMB1036 FY-LMB2036 FY-LMB3036 FY-LMB4036 36 1-3/8 364 1656 80 80 55 5
FY-LMB1039 FY-LMB2039 FY-LMB3039 FY-LMB4039 39 1-1/2 439 1995 87 87 58 5
FY-LMB1042 FY-LMB2042 FY-LMB3042 FY-LMB4042 42 1-5/8 494 2245 94 94 60 6
FY-LMB1045 FY-LMB2045 FY-LMB3045 FY-LMB4045 45 1-3/4 600 2728 101 101 62 6
FY-LMB1048 FY-LMB2048 FY-LMB3048 FY-LMB4048 48 1-7/8 665 3021 107 107 62 6
FY-LMB1052 FY-LMB2052 FY-LMB3052 FY-LMB4052 52 2 806 3665 117 117 67 8
FY-LMB1056 FY-LMB2056 FY-LMB3056 FY-LMB4056 56 2-1/4 962 4371 128 128 67 8
FY-LMB1060 FY-LMB2060 FY-LMB3060 FY-LMB4060 60 2-3/8 1066 4844 135 135 80 8
FY-LMB1064 FY-LMB2064 FY-LMB3064 FY-LMB4064 64 2-1/2 1203 5468 144 144 80 10
FY-LMB1068 FY-LMB2068 FY-LMB3068 FY-LMB4068 68 2-3/4 1478 6720 157 157 85 10
FY-LMB1072 FY-LMB2072 FY-LMB3072 FY-LMB4072 72 2-1/2 1547 7034 163 163 85 10
FY-LMB1075 FY-LMB2075 FY-LMB3075 FY-LMB4075 75 2-3/4 1760 8000 173 173 95 10
FY-LMB1080 FY-LMB2080 FY-LMB3080 FY-LMB4080 80 3-1/4 2141 9752 187 187 95 10
FY-LMB1085 FY-LMB2085 FY-LMB3085 FY-LMB1085 85 3-3/8 2243 10193 195 195 100 10
FY-LMB1090 FY-LMB2090 FY-LMB3090 FY-LMB4090 90 3-1/2 2532 11511 207 207 110 10
FY-LMB1095 FY-LMB2095 FY-LMB3095 FY-LMB4095 95 3-3/4 2882 13100 219 219 120 10
FY-LMB1100 FY-LMB2100 FY-LMB3100 FY-LMB4100 100 4 3274 14884 234 234 120 10
FY-LMB1105 FY-LMB2105 FY-LMB3105 FY-LMB4105 105 4-1/8 3533 16061 243 243 125 15
FY-LMB1110 FY-LMB2110 FY-LMB3110 FY-LMB1110 110 4-3/8 3944 17926 255 255 125 15
FY-LMB1115 FY-LMB2115 FY-LMB3115 FY-LMB4115 115 4-1/2 4251 19324 267 267 145 15
FY-LMB1120 FY-LMB2120 FY-LMB3120 FY-LMB4120 120 4-3/4 4700 21365 279 279 145 15
FY-LMB1125 FY-LMB2125 FY-LMB3125 FY-LMB4125 125 5 5334 24247 295 295 152 15
FY-LMB1130 FY-LMB2130 FY-LMB3130 FY-LMB4130 130 5-1/8 5523 26104 303 303 155 15
FY-LMB1140 FY-LMB2140 FY-LMB3140 FY-LMB4140 140 5-1/2 6412 29145 328 328 170 15
FY-LMB1150 FY-LMB2150 FY-LMB3150 FY-LMB4150 150 6 7727 35124 356 356 185 15
FY-LMB1160 FY-LMB2160 FY-LMB3160 FY-LMB4160 160 6-1/4 8564 36927 376 376 200 15
FY-LMB1170 FY-LMB2170 FY-LMB3170 FY-LMB4170 170 6-1/2 9663 43922 400 400 208 15
FY-LMB1180 FY-LMB2180 FY-LMB3180 FY-LMB4180 180 7 10946 49754 424 424 215 20
FY-LMB1190 FY-LMB2190 FY-LMB3190 FY-LMB4190 190 7-1/2 12268 55763 450 450 230 20
FY-LMB1200 FY-LMB2200 FY-LMB3200 FY-LMB4200 200 8 14103 64106 480 480 240 20

FY-LN型液压螺母

FY-LN型液压螺母主要用于锥形轮毂或轴承与锥形轴过盈配合的压装及拆卸,如船舶螺旋桨与螺旋桨锥形轴的联接。到今天为止,该技术被认为是压装及拆卸大型锥形轮毂或轴承简单、有效的方法。而这种技术也被称为液压无键联接技术

  • FY-LN型液压螺母

FY-LN型液压螺母工作原理:

螺旋桨锥孔与轴均有着相同的接合锥度。锥形轴内事先设计好油路,安装时,高压液压油通过锥形轴油路,被输送到螺旋桨锥孔与 轴的锥形接触面之间,高压液压使螺旋桨锥孔在材料弹性变形范围内,内径扩大。接着对液压螺母打压,借助于液压螺母活塞的轴向推力,使螺旋桨沿着锥形轴表面定量移动,直到螺旋桨被推移到规定位置后,拧紧液压螺母。此时因过盈配合而产生巨大接触摩擦力,螺旋桨与轴便可靠地联接在一起。整个压装过程中,因螺旋桨锥孔和轴的锥形接触面之间存在高压油膜,螺旋桨和 轴接触面不会被磨损。

液压螺母可使用手动、气动、电动泵。而配合先进的工业级全自动液压压装机,能令液压螺母的安装及拆卸更简单及方便,令整个安装过程的个各项参数均处于可控制的状态,达到更高的精度。

FY-LN型液压螺母优点:

  • 因为使用可控制的液压技术,因而在安装或拆卸时能提供更精确的控制;
  • 大大节省安装时间与人力,也能增加安装人员的安全性;
  • 密封技术,液压螺母在-30℃至100℃间无泄露;
  • 能产生强大的轴向力锁紧轴承或轮毂,不会产生扭曲应力,不会磨损锥形轴螺纹;
  • 拆卸时,因为高压油膜的存在,不会造成轮毂与轴的磨损,有利于再次重复使用;
  • 轴系的设计及制造变得更简单,大幅降低制造成本;
  • 有轴向和径向注油两种方式;
  • 标准工作压力100Mpa;
  • 根据客户的需求,我们可提供特殊规格的定制服务。

FY-LN型液压螺母应用场合:

  • 圆锥轴承或圆柱轴承;
  • 带锥度的轴-轮毂;
  • 联轴器;
  • 传动机构齿轮;
  • 铁路轮轨;
  • 船用螺旋桨;
  • 船用引擎曲轴。

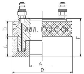
FY-LN型液压螺母技术参数:

FY-LN型液压螺母示意图
型号 螺栓规格 A(mm) B(mm) C(mm) D(mm) E(mm) 行程(mm) 面积mm2
FY-LN050 M50×1.5 50.5 104 114 38 4 5 2900
FY-LN055 M55×2 55.5 109 120 38 4 5 3150
FY-LN060 M60×2 60.5 115 125 38 5 5 3300
FY-LN065 M65×2 65.5 121 130 38 5 5 3600
FY-LN070 M70×2 70.5 127 135 38 5 5 3800
FY-LN075 M75×2 75.5 132 140 38 5 5 4000
FY-LN080 M80×2 80.5 137 146 38 5 5 4200
FY-LN085 M85×2 85.5 142 150 38 5 5 4400
FY-LN090 M90×2 90.5 147 156 38 5 5 4700
FY-LN095 M95×2 95.5 153 162 38 5 5 4900
FY-LN100 M100×2 100.5 158 166 38 6 5 5100
FY-LN105 M105×2 105.5 163 172 38 6 5 5300
FY-LN110 M110×2 110.5 169 178 38 6 5 5600
FY-LN115 M115×2 115.5 174 182 38 6 5 5800
FY-LN120 M120×2 120.5 179 188 38 6 5 6000
FY-LN125 M125×2 125.5 184 192 38 6 5 6200
FY-LN130 M130×2 130.5 190 198 38 6 5 6400
FY-LN135 M135×2 135.5 195 204 38 6 5 6600
FY-LN140 M140×2 140.5 200 208 38 7 5 6800
FY-LN145 M145×2 145.5 206 214 39 7 5 7300
FY-LN150 M150×2 150.5 211 220 39 7 5 7500
FY-LN155 M155×3 155.5 218 226 39 7 5 8100
FY-LN160 M160×3 160.5 224 232 40 7 6 8600
FY-LN165 M165×3 165.5 229 238 40 7 6 8900
FY-LN170 M170×3 170.5 235 244 41 7 6 9400
FY-LN180 M180×3 180.5 247 256 41 7 6 10300
FY-LN1190 M190×3 191 259 270 42 8 7 11500
FY-LN200 M200×3 201 271 282 43 8 8 12500
FY-LN205 Tr205×4 207 276 288 43 8 8 12800
FY-LN210 Tr210×4 212 282 294 44 8 9 13400
FY-LN215 Tr215×4 217 287 300 44 8 9 13700
FY-LN220 Tr220×4 222 293 306 44 8 9 14400
FY-LN225 Tr225×4 227 300 312 45 8 9 15200
FY-LN230 Tr230×4 232 305 318 45 8 9 15500
FY-LN235 Tr235×4 237 311 326 46 8 10 16200
FY-LN240 Tr240×4 242 316 330 46 9 10 16500
FY-LN250 Tr250×4 252 329 342 46 9 10 17600
FY-LN260 Tr260×4 262 341 356 47 9 11 18800
FY-LN270 Tr270×4 272 352 368 48 9 12 19800
FY-LN280 Tr280×4 282 363 380 49 9 12 21100
FY-LN290 Tr290×4 292 375 390 49 9 13 22400
FY-LN300 Tr300×4 302 386 404 51 10 14 23600
FY-LN310 Tr310×4 312 397 416 52 10 14 24900
FY-LN320 Tr320×4 322 409 428 53 10 14 26300
FY-LN330 Tr330×4 332 419 438 53 10 14 27000
FY-LN340 Tr340×4 342 430 450 54 10 14 28400
FY-LN345 Tr345×4 347 436 456 54 10 14 29400
FY-LN350 Tr350×4 352 442 464 56 10 14 29900
FY-LN360 Tr360×4 362 455 472 56 10 15 31300
FY-LN360 Tr365×4 367 460 482 57 11 15 31700
FY-LN370 Tr370×4 372 466 486 57 11 16 32800
FY-LN380 Tr380×4 382 476 498 58 11 16 33500
FY-LN385 Tr385×4 387 483 504 58 11 16 34700
FY-LN400 Tr400×4 402 499 522 60 11 17 36700
FY-LN410 Tr410×4 412 510 534 61 11 17 38300
FY-LN420 Tr420×4 422 522 546 61 11 17 40000
FY-LN430 Tr430×4 432 532 556 62 11 17 40800
FY-LN440 Tr440×4 442 543 566 62 12 17 42500
FY-LN450 Tr450×4 452 554 580 64 12 17 44100
FY-LN460 Tr460×4 462 565 590 64 12 17 45100
FY-LN470 Tr470×4 472 576 602 65 12 18 46900
FY-LN480 Tr480×4 482 587 612 65 12 19 48600
FY-LN490 Tr490×4 492 597 624 66 12 19 49500
FY-LN500 Tr500×4 502 609 636 67 12 19 51500

FY-LN型液压螺母应用场合:

FY-LN型液压螺母用于船桨安装 FY-LN型液压螺母用于船桨安装

FY-LP型液压螺母

FY-LP型液压螺母主要用于夹紧工具,其工作原理是利用油压推动活塞产生一个夹紧力,不需要外接液压泵。

  • FY-LP型液压螺母

主要参数

最大拉伸力
199.8KN
螺栓直径
M30~180mm
最大行程
2mm

FY-LP型液压螺母特点:

  • 使用特定扳手、可靠、操作简便;
  • 有轴向和径向执行机构;
  • 压力均匀分布于压环;
  • 不会在轴向压力产生变形;
  • 使用少量的油脂达到好效果。

FY-LP型液压螺母使用范围:

  • 金属剪切机(开卷分条线上)用刀具紧固夹具;
  • 成形加工用紧固夹具;
  • 其他轴用工器具紧固夹具;

FY-LP型液压螺母技术参数:

型号 螺纹规格 最大顶力(KN) 外径(mm) 高度(mm) 压环直径(mm) 行程(mm)
M in
FY-LP030 30 1-1/8 72.0 75 30 52/44 2
FY-LP042 42 1-5/8 89.3 92 35 65/55 2
FY-LP052 52 2 139.7 107 35 84/72 2
FY-LP068 68 2-3/4 129.2 118 35 92/82 2
FY-LP080 80 3-1/4 155.8 129 35 110/100 2
FY-LP100 100 4 165.6 160 40 125/110 2
FY-LP120 120 4-3/4 150.8 185 45 150/135 2
FY-LP140 140 5-1/2 233.1 205 50 175/155 2
FY-LP160 160 6-1/4 180.0 230 50 200/180 2
FY-LP180 180 7 199.8 245 50 222/202 2

FY-M液压螺母

常用于轴承、飞轮、螺旋桨等工件压装的液压工具。具有产生的顶推力平稳,无冲击,压装过程中不伤及工件等特性。通过液压螺母的内圈螺纹,其可被安装在轴类部件上,活塞在700bar液压压力的作用下顶出推动工件至安装位置。

  • FY-M液压螺母

FY-M液压螺母特点:

  • 工作压力:700 bar;
  • 采用轴向和径向注油两种方式,无使用空间限制;
  • 可根据用户要求,选配电动、气动、手动液压泵作及为动力源。

圆锥孔滚子轴承安装步骤:

液压螺母安装在轴颈,推力作用于轴承内圈。轴承被推动前进。 液压螺母安装在轴颈,液压推力作用于锥形轴套。轴套另一端由定距环止挡。随着锥形轴套的推入,轴承被固定到位。 液压螺母安装在锥形轴套上,打压后,液压推力作用于轴承内圈。轴承被推动前进。

FY-M液压螺母技术参数:

型号 螺纹 M 外径 D 止口 d1 止口 d2 高度 H B1 行程 工作面积 mm2 重量 Kg
FY-M50 M50x1.5 114 50.5 104 38 4 5 3376 2.7
FY-M60 M60x2 125 60.5 115 38 5 5 4239 2.8
FY-M70 M70x2 135 70.5 127 38 5 5 4710 3.2
FY-M80 M80x2 146 80.5 137 38 5 5 5181 3.7
FY-M90 M90x2 156 90.5 147 38 5 5 5652 4
FY-M100 M100x2 166 100.5 158 38 6 5 5987 4.4
FY-M110 M110x2 178 110.5 169 38 6 5 6286 4.95
FY-M120 M120x2 188 120.5 179 38 6 5 8568 5.25
FY-M130 M130x2 198 130.5 190 38 6 5 7165 5.65
FY-M140 M140x2 208 140.5 200 39 7 5 7605 6
FY-M150 M150x2 220 150.5 211 39 7 6 7736 6.6
FY-M160 M160x3 232 160.5 224 40 7 6 8002 7.6
FY-M170 M170x3 244 170.5 235 41 7 6 8669 8.4
FY-M190 M190x3 270 191 259 42 8 8 9266 10.5
FY-M200 M200x3 282 201 271 43 8 8 8612 11.5
FY-M210 Tr210x4 294 212 282 44 8 9 11728 12.5
FY-M220 Tr220x4 306 222 293 44 8 9 11815 13.5
FY-M230 Tr230x4 318 232 305 45 8 9 12270 15
FY-M250 Tr250x4 342 252 329 46 9 10 13317 17
FY-M280 Tr280x4 380 282 363 49 9 12 14683 22
FY-M300 Tr300x4 404 302 386 51 10 13 15640 25
FY-M400 Tr400x4 522 402 499 60 11 17 20602 45.5
FY-M500 Tr500x4 636 502 609 67 12 19 24337 70
FY-M600 Tr600x4 748 602 721 73 13 23 28274 100
FY-M710 Tr710x4 870 712 840 78 15 25 30730 135
FY-M800 Tr800x4 965 802 936 80 16 25 31770 161
FY-M900 Tr900x4 1075 902 1043 86 17 30 32848 205

轴承拆装用液压螺母

我公司参照SKF-HMV标准生产的用于轴承安装、拆卸的SKF-TTLM液压螺母。

  • 轴承拆装用液压螺母

轴承拆装用液压螺母特点:

  • 可产生强大的力,将轴承平缓的装入或拆下;
  • 适用于各种螺纹标准的锥套、轴上轴承的安装和拆卸;
  • 用高压手动泵向液压螺母注入液压油,活塞产生强大的推力,使轴承的安装和拆卸变得毫不费力并且准确和安全。

轴承拆装用液压螺母使用方法:

(一)轴承的安装(共分4种形式) (二)轴承的拆卸(共分2种形式)

轴承拆装用液压螺母技术参数:

轴承拆装用液压螺母的规格为M50×1.5—M200×3 , Tr205×4—Tr500×5,详见下表。

型号 外型尺寸 活塞面积 重量
G d1 d2 d3 B B1
螺 纹 mm mm mm mm mm mm2 kg
FY-SKF-TTLM10E M50x1.5 50.5 104 114 38 4 2900 2.70
FY-SKF-TTLM11E M55x2 55.5 109 120 38 4 3150 2.75
FY-SKF-TTLM12E M60x2 60.5 115 125 38 5 3300 2.80
FY-SKF-TTLM13E M65x2 65.5 121 130 38 5 3600 3.00
FY-SKF-TTLM14E M70x2 70.5 127 135 38 5 3800 3.20
FY-SKF-TTLM15E M75x2 75.5 132 140 38 5 4000 3.40
FY-SKF-TTLM16E M80x2 80.5 137 146 38 5 4200 3.70
FY-SKF-TTLM17E M85x2 85.5 142 150 38 5 4400 3.75
FY-SKF-TTLM18E M90x2 90.5 147 156 38 5 4700 4.00
FY-SKF-TTLM19E M95x2 95.5 153 162 38 5 4900 4.30
FY-SKF-TTLM20E M100x2 100.5 158 166 38 6 5100 4.40
FY-SKF-TTLM21E M105x2 105.5 163 172 38 6 5300 4.65
FY-SKF-TTLM22E M110x2 110.5 169 178 38 6 5600 4.95
FY-SKF-TTLM23E M115x2 115.5 174 182 38 6 5800 5.00
FY-SKF-TTLM24E M120x2 120.5 179 188 38 6 6000 5.25
FY-SKF-TTLM25E M125x2 125.5 184 192 38 6 6200 5.35
FY-SKF-TTLM26E M130x2 130.5 190 198 38 6 6400 5.65
FY-SKF-TTLM27E M135x2 135.5 195 204 38 6 6600 5.90
FY-SKF-TTLM28E M140x2 140.5 200 208 38 7 6800 6.00
FY-SKF-TTLM29E M145x2 145.5 206 214 39 7 7300 6.50
FY-SKF-TTLM30E M150x2 150.5 211 220 39 7 7500 6.60
FY-SKF-TTLM31E M155x3 155.5 218 226 39 7 8100 6.95
FY-SKF-TTLM32E M160x3 160.5 224 232 40 7 8600 7.60
FY-SKF-TTLM33E M165x3 165.5 229 238 40 7 8900 7.90
FY-SKF-TTLM34E M170x3 170.5 235 244 41 7 9400 8.40
FY-SKF-TTLM36E M180x3 180.5 247 256 41 7 10300 9.15
FY-SKF-TTLM38E M190x3 191 259 270 42 8 11500 10.5
FY-SKF-TTLM40E M200x3 201 271 282 43 8 12500 11.5
FY-SKF-TTLM41E Tr205x4 207 276 288 43 8 12800 12.0
FY-SKF-TTLM42E Tr210x4 212 282 294 44 8 13400 12.5
FY-SKF-TTLM43E Tr215x4 217 287 300 44 8 13700 13.0
FY-SKF-TTLM44E Tr220x4 222 293 306 44 8 14400 13.5
FY-SKF-TTLM45E Tr225x4 227 300 312 45 8 15200 14.5
FY-SKF-TTLM46E Tr230x4 232 305 318 45 8 15500 14.5
FY-SKF-TTLM47E Tr235x4 237 311 326 46 8 16200 16.0
FY-SKF-TTLM48E Tr240x4 242 316 330 46 9 16500 16.0
FY-SKF-TTLM50E Tr250x4 252 329 342 46 9 17600 17.5
FY-SKF-TTLM52E Tr260x4 262 341 356 47 9 18800 19.0
FY-SKF-TTLM54E Tr270x4 272 352 368 48 9 19800 20.5
FY-SKF-TTLM56E Tr280x4 282 363 380 49 9 21100 22.0
FY-SKF-TTLM58E Tr290x4 292 375 390 49 9 22400 22.5
FY-SKF-TTLM60E Tr300x4 302 386 404 51 10 23600 25.5
FY-SKF-TTLM62E Tr310x5 312 397 416 52 10 24900 27.0
FY-SKF-TTLM64E Tr320x5 322 409 428 53 10 26300 29.5
FY-SKF-TTLM66E Tr330x5 332 419 438 53 10 27000 30.0
FY-SKF-TTLM68E Tr340x5 342 430 450 54 10 28400 31.5
FY-SKF-TTLM69E Tr345x5 347 436 456 54 10 29400 32.5
FY-SKF-TTLM70E Tr350x5 352 442 464 56 10 29900 35.0
FY-SKF-TTLM72E Tr360x5 362 455 472 56 10 31300 35.5
FY-SKF-TTLM73E Tr365x5 367 460 482 57 11 31700 38.5
FY-SKF-TTLM74E Tr370x5 372 466 486 57 11 32800 39.0
FY-SKF-TTLM76E Tr380x5 382 476 498 58 11 33500 40.5
FY-SKF-TTLM77E Tr385x5 387 483 504 58 11 34700 41.0
FY-SKF-TTLM80E Tr400x5 402 499 522 60 11 36700 45.5
FY-SKF-TTLM82E Tr410x5 412 510 534 61 11 38300 48.0
FY-SKF-TTLM84E Tr420x5 422 522 546 61 11 40000 50.0
FY-SKF-TTLM86E Tr430x5 432 532 556 62 11 40800 52.5
FY-SKF-TTLM88E Tr440x5 442 543 566 62 12 42500 54.0
FY-SKF-TTLM90E Tr450x5 452 554 580 64 12 44100 57.5
FY-SKF-TTLM92E Tr460x5 462 565 590 64 12 45100 60.0
FY-SKF-TTLM94E Tr470x5 472 576 602 65 12 46900 62.0
FY-SKF-TTLM96E Tr480x5 482 587 612 65 12 48600 63.0
FY-SKF-TTLM98E Tr490x5 492 597 624 66 12 49500 66.0
FY-SKF-TTLM100E Tr500x5 502 609 636 67 12 51500 70.0

以上型号的液压螺母螺纹规格均可根据用户要求设计、制作。

手动加压式黄油液压螺母

手动加压式黄油液压螺母适用于圆盘剪、分条剪的锁紧,可替代日本、德国同类产品。由螺母体、压环、加压柱塞、放油排气丝堵、压环密封圈、加压柱塞O型圈组成。

  • 手动加压式黄油液压螺母

手动加压式黄油液压螺母操作过程:

1、先将两个加压柱塞松掉,以不脱离螺纹为宜。

2、将液压螺母拧入螺纹轴,压环在待压工件一侧,压环与待压工件之间尽量压紧。(压环完全退回为宜)。

3、分别将两个加压柱塞慢慢拧入,待内六方扳手很难拧动时,加压过程结束。

4、需要拆下液压螺母时,先将加压柱塞慢慢松开,这时螺母与被压工件之间的压力就消除了,便可顺利拧下螺母了。

注意:如果液压螺母油腔内缺少黄油时,拧入加压柱塞,压环不能被推出,液压螺母将无法使用。补充黄油的方法:将放油排气丝堵及钢球拆下,用尖嘴黄油枪顶住排气孔加油,当压环被推出2—3毫米时停止加油。再将钢球及丝堵拧牢,加油完毕。

手动加压式黄油液压螺母注意事项:

  • 压环与工件之间必须是平面接触,否则高压下压环将被损坏;
  • 注入的黄油一定要干净,不能有杂质;
  • 压环的最大行程为2毫米,超出后,压环将脱落。

螺栓予拉伸用液压螺母

适用螺栓范围:M30~M120(牙型可根据用户要求设计制作)。液压螺母分为自锁型和普通型。

  • 螺栓予拉伸用液压螺母

螺栓予拉伸用液压螺母特点:

  • 自锁型为螺栓拉紧后不再拆卸,靠液压螺母本身的良好密封性保持螺栓的拉紧力;
  • 普通型为当螺栓拉紧后,再拧入一只普通螺母,这时可将液压螺母拆下。一个液压螺母可完成若干个螺栓的予紧;
  • 可配手动泵、电动泵站多个螺母同时适用。

轧辊锁紧用液压螺母

本公司生产的液压螺母是根据多年来的实际生产经验,参照国外产品的相关技术并结合一些使用厂家的要求开发、研制生产的系列产品。该产品适用于需经常拆装的轧辊锁紧;超大螺栓的予紧等场合,也可用做液压过盈连接拆装工具。

  • 轧辊锁紧用液压螺母

轧辊锁紧用液压螺母技术参数:

型号(M) D d1 H 压环 注油压力 压环压力
行程L 面积
毫米 平方厘米 Mpa KN
FY-TTYM-GM120x3
FY-TTYM-GM120x6
220 180 60 5 77 50 346
FY-TTYM-GM130x3
FY-TTYM-GM130x6
230 190 60 5 82 50 369
FY-TTYM-GM140x3
FY-TTYM-GM140x6
240 200 60 5 87 50 391
FY-TTYM-GM150x3
FY-TTYM-GM150x6
270 220 70 5 125 50 562
FY-TTYM-GM160x3
FY-TTYM-GM160x6
280 230 70 8 132 50 594
FY-TTYM-GM170x3
FY-TTYM-GM170x6
290 240 70 8 138 50 621
FY-TTYM-GM180x3
FY-TTYM-GM180x6
300 250 70 8 145 50 652
FY-TTYM-GM190x3
FY-TTYM-GM190x6
310 260 70 8 150 50 675
FY-TTYM-GM200x3
FY-TTYM-GM200x6
320 270 70 8 157 50 706
FY-TTYM-GM210x3
FY-TTYM-GM210x6
330 280 70 8 163 50 734
FY-TTYM-GM220x3
FY-TTYM-GM220x6
340 290 70 8 169 50 760
FY-TTYM-GM240x6 370 320 80 8 188 50 912
TTYM-GTr260x6 400 350 80 8 207 50 1000
TTYM-GTr280x6 420 370 80 8 270 50 1350
TTYM-GTr300x6 450 400 90 10 348 50 1742
TTYM-GTr320x6 470 420 90 10 367 50 1836
TTYM-GTr340x6 490 440 100 12 386 50 1931
TTYM-GTr360x6 510 460 100 12 405 50 2025
TTYM-GTr380x6 530 480 100 12 423 50 2119
TTYM-GTr390x6 540 490 100 12 433 50 2160
TTYM-GTr400x6 550 500 100 12 442 50 2213
TTYM-GTr410x6 560 510 100 12 452 50 2260

TC系列液压螺母

  • TC系列液压螺母

TC系列液压螺母特点:

  • 简单、快捷、精确;
  • 常用工作压力1500bar或2200bar;
  • 如有特殊需求可定制;
  • 带有行程指示器;
  • 按实际需要可侧面或顶端连接。
 顶环液压螺母▽
底环液压螺母▽
 

TC系列液压螺母技术参数:

型号 公称直径 外径 总高 主体
高度
环部
高度
行程

mm
作用
面积
cm²
最大拉伸力 重量
kg
A B H C P 1500BAR 2200BAR
顶环液压螺母 底环液压螺母 mm inch mm mm mm mm KN
TC01 BC01 33 1"1/4 74 51 36 15 6 14.41 216.19 317.08 0.9
TC02 BC02 36 1"3/8 80 59 43 16 4 16.56 248.33 364.22 1.2
TC03 BC03 39 1"1/2 87 63 45 18 4 19.95 299.2 438.83 1.5
TC04 BC04 42 1"5/8 94 69 50 19 6 22.45 336.77 493.93 1.9
TC05 BC05 45 1"3/4 101 76 55 21 6 27.28 409.18 600.13 2.4
TC06 BC06 48 1"7/8 107 77 55 22 8 30.21 453.1 664.55 2.8
TC07 BC07 52 2" 117 84 60 24 8 36.65 549.77 806.34 3.6
TC08 BC08 56 2"1/4 128 88 62 26 8 43.71 655.63 961.59 4.9
TC09 BC09 60   135 93 65 28 10 48.44 726.64 1065.73 5.6
TC10 BC10 64 2"1/2 144 99 70 29 10 54.68 820.13 1202.86 6.7
TC11 BC11 68 2"3/4 157 105 72 33 10 67.2 1007.94 1478.31 8.8
TC12 BC12 72   163 109 76 33 10 70.34 1055.04 1547.39 9.7
TC13 BC13 76 3" 173 117 81 36 12 80 1199.99 1759.99 11.7
TC14 BC14 80 3"1/4 187 124 85 39 12 97.32 1459.75 2140.96 14.9
TC15 BC15 85   195 130 90 40 12 101.93 1528.98 2242.51 16.4
TC16 BC16 90 3"1/2 207 140 97 43 12 115.11 1726.69 2532.47 19.6
TC17 BC17 95 3"3/4 219 148 102 46 12 131 1965.01 2882.02 23.4
TC18 BC18 100 4" 234 154 105 49 15 148.84 2232.54 3274.39 28.5
TC19 BC19 105   243 149 108 51 15 160.61 2409.17 3533.44 31.5
TC20 BC20 110   255 166 113 53 15 179.26 2688.94 3943.78 36.3
TC21 BC21 115 4"1/2 267 176 120 56 15 193.24 2898.53 4251.18 41.6
TC22 BC22 120   279 183 125 58 15 213.65 3204.68 4700.2 47.4
TC23 BC23 125 5" 295 192 130 62 15 242.47 3637.06 5334.36 56.4
TC24 BC24 130   303 198 135 63 15 251.04 3765.65 5522.95 60.5
TC25 BC25 140 5"1/2 328 214 145 69 15 292.45 4371.82 6412.01 76.5
TC26 BC26 150 6" 356 231 155 76 18 351.24 5268.61 7727.29 98.9
TC27 BC27 160   376 244 165 79 18 389.27 5838.99 8563.85 114.8
TC28 BC28 170 6"1/2 400 259 175 84 18 439.22 6588.35 9662.91 138.1
TC29 BC29 180 7"1/2 424 274 185 89 18 497.54 7463.11 10945.9 164.2
TC30 BC30 190 7"1/2 449 290 195 95 20 557.63 8364.49 12267.92 195.6
TC31 BC31 200 8" 479 307 205 102 20 641.06 9615.94 14103.37 238.9

垫片式液压螺母

  • 垫片式液压螺母

垫片式液压螺母特点:

  • 简单、快捷、精确;
  • 常用工作压力1500bar或2200bar;
  • 如有特殊需求可定制;
  • 带有行程指示器;
  • 按实际需要可侧面或顶端连接。

垫片式液压螺母技术参数:

垫片式液压螺母
型号 工程直径 外径 主体高度 垫片
高度
行程

mm
作用
面积
cm²
最大拉伸力 重量

kg
A B C P 1500BAR 2200BAR
mm inch mm mm mm kN
SH01 33 1"1/4 74 35 6 6 14.41 216.19 317.08 0.9
SH02 36 1"3/8 80 38 4 6 16.58 248.33 364.22 1.2
SH03 39 1"1/2 87 41 4 6 19.95 299.2 438.83 1.5
SH04 42 1"5/8 94 44 6 8 22.45 336.77 493.92 1.9
SH05 45 1"3"4 101 47 6 8 27.28 409.18 600.13 2.4
SH06 48 1"7/8 107 50 8 8 30.21 453.1 664.55 2.8
SH07 52 2" 117 54 8 8 36.65 549.77 806.34 3.6
SH08 56   128 60 8 10 43..71 655.63 961.59 4.9
SH09 60 2"1/2 135 62 10 10 48.44 726.64 1065.73 5.6
SH10 64 2"3/4 144 68 10 10 54.68 820.13 1230.86 6.7
SH11 68   157 72 10 10 67.2 1007.94 1478.31 8.8
SH12 72 3" 163 74 10 10 70.34 1055.04 1547.39 9.7
SH13 76 3"1/4 173 79 12 12 80 1199.99 1759.99 11.7
SH14 80   187 85 12 12 97.32 1459.75 2140.96 14.9
SH15 85   195 87 12 12 101.93 1528.98 2242.51 16.4
SH16 90 3"1/2 207 92 12 12 115.11 1726.69 2532.47 19.6
SH17 95 3"3/4 219 98 12 12 131 1965.01 2882.02 23.4
SH18 100 4" 234 104 15 15 148.84 2232.54 3274.39 28.5
SH19 105   243 107 15 15 160.61 2409.17 3533.44 31.5
SH20 110   255 112 15 15 179.26 2688.94 3943.78 36.3
SH21 115 4"1/2 267 117 15 15 193.24 2898.53 4251.18 41.6
SH22 120   279 122 15 15 213.65 3204.68 4700.2 47.4
SH23 125 5" 295 129 15 15 242.47 3637.06 5334.36 56.4
SH24 130   303 132 15 15 251.04 3765.65 5522.95 60.5
SH25 140 5"1/2 328 142 15 15 291.45 4371.82 6412.01 76.5
SH26 150 6" 356 155 18 15 351.24 5268.61 7727.29 98.9
SH27 160   376 162 18 20 389.27 5838.99 8563.85 114.8
SH28 170 6"1/2 400 172 18 20 439.22 6588.35 9662.91 138.1
SH29 180 7" 424 182 18 20 497.54 7463.11 10945.9 164.2
SH30 190 7"1/2 449 193 20 25 557.63 8364.49 12267.92 195.6
SH31 200 8" 479 206 20 25 641.06 9615.94 14103.37 238.9