液压法兰劈开器
分体式液压法兰分离器为石油化工管道液体输送中提供了一个理想而安全的解决方案。有最大能力5T和10T两种型号可供选择,最大可劈开92mm 厚的法兰盘。在劈开大直径法兰时也可成对使用。该机可在几分钟内劈开法兰,避免在特殊工况环境下使用普通工具而产生火花的危险。更大尺 寸劈开器可以定制。
液压法兰劈开器特点:
- 轻型的设计便于使用;
- 从70-216mm的可调尖端宽度,应用范围更广单 作用RC系列千斤顶配套使用,弹簧回位,功效更高。
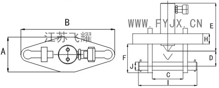
液压法兰劈开器技术参数:


| 型号 | 最大法兰厚度 (㎜) | 螺栓尺寸 (㎜) | 标准楔刀 (㎜) | 承载能力 ton (KN) | 行程 (㎜) | 油容量(ml) | 尺寸(㎜) | |||||||||
| A | B | C | D | E | F | H | I | J | ||||||||
| 最大 | 最小 | |||||||||||||||
| FY-FS-56 | 57 | 19-28 | 3-28 | 5(49) | 38 | 24.6 | 76 | 210 | 70 | 155 | 33 | 108 | 88 | 25 | 208 | 19 |
| FY-FS-108 | 92 | 31-41 | 3-28 | 10(98) | 54 | 78.7 | 108 | 279 | 104 | 216 | 50 | 152 | 114 | 28 | 273 | 32 |
Copyright @ 2009-2014 [PA网址:haiyiren.com] 江苏PA网址
机械制造有限公司 All rights reserved.
网站地图





